基本上每个亚马逊卖家都要做竞争分析,之前的竞品分析过程还是挺痛苦的。要分析销量,要分析文案图片,要分析痛点,分析流量来源,推广策略等等。少说没个几个小时是完不成的,但是没想到AI的介入,让竞品分析的难度下降了很多。这到底是怎么回事呢?
第一,为什么要做竞品分析
一,避坑逻辑
亚马逊最贵的成本是什么?是试错成本。
竞品分析就是去找到竞争对手走过的弯路,我们不要再去犯一遍错误。剩下的就是纯纯的利润。比如竞争对手运营过程中频繁出现断货情况。比如竞争对手某个关键词的广告排名一直都比自然排名高很多,但是自然排名却迟迟没有推上去,那这个词的推广难度很大,我们也要慎重考虑。
二,捡漏逻辑
在这个竞争激烈的市场,没有任何一个竞品是完美的。他们没有做好的地方,就是你的舒适区。只要你做得比他好,获得订单的机会就会高很多。比如产品的西班牙语也是一个流量很多并且非常精准的关键词,但是竞争对手居然没有投放。
三,改良逻辑
我们不需要凭空想象用户喜欢什么,只需要看竞品哪个变体销量高经常卖断货。同样的道理竞争对手的差评,痛点也是告诉你客户更需要什么。竞品用数万个订单换来的教训,直接告诉我们下一代产品该怎么做。如果自己从0做起,需要调研、开模、测试,这需要很长的周期。但现在我们只需要做竞品分析就好,因为竞品已经帮我们测完了。
四,差异化逻辑
竞品分析后决定才能做出差异化,不仅仅从产品本身做差异化。还可以从展示效果,流量获取策略等多个角度做出差异化。比如图片差异化,用户在搜索结果页看到一堆一样的图,突然看到你这张不一样的,点击率瞬间就上来了。
五,学习逻辑
我们竞品分析一般都是找市场上比较优秀的产品去分享,那他为什么能成功呢?如果他优秀的地方,我们能学习复制,至少我们的基本盘也就有了。再加上上面的那些逻辑,青出于蓝胜于蓝。
第二,传统分析 VS AI全景分析
上周卖家精灵推出了AI新功能,AI链接全景分析,输入ASIN查询后就可以获得一份超级详细的分析报告。

图片来源:卖家精灵
下面这份就是对一款骑行头盔经查询后的全景分析报告

图片来源:卖家精灵
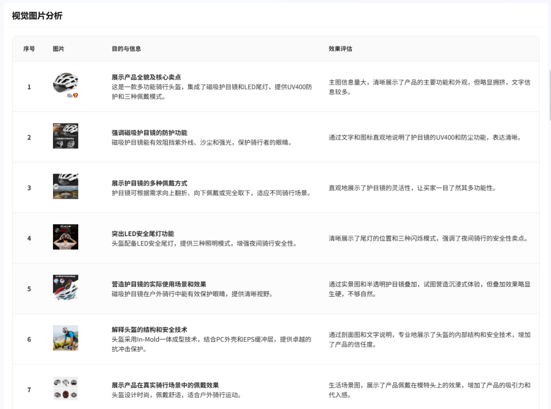
其中涵盖了:文案分析,图片分析,流量分析,评价分析,打法分析,人群分析等非常全面的角度。报告的页数也达到十几页。
相比传统的竞品分析方式, AI全景分析不仅仅实现快,而且准和全。下面对这份骑行头盔的全景分析报告进行精彩部分解读。
第三,案例深度拆解
一,看流量结构
Basecamp的流量中,核心词helmet占据自然流量占比极高。如果你是新卖家,不要试图在 helmet 这种超大词上跟它硬碰硬,因为你的CPC会比它贵得多。
建立前置否定词表。Negative Keywords: road bike helmet (太贵不准), professional cycling gear (场景不符), kids helmet (人群不符)。 在新品上架前,直接把这些词在广告活动中屏蔽,把预算花到其他更有价值的地方。
发现长尾词 scooter helmet with light(带灯滑板车头盔)和西语词 cascos,这些词竞争对手遗漏了。

图片来源:卖家精灵

图片来源:卖家精灵
二,看视觉转化
竞品的图片风格把产品的技术特征、磁吸结构展示得很清楚。同样缺点是缺乏温度,背景多为PS合成的虚化街道。
要知道买家不是为了买一个塑料壳,而是为了买安全感和体面。劣质的合成图让人感觉廉价,无法产生代入感。
优化思路
场景可以放弃模糊的山地背景,改为真实的地铁站口、写字楼下的自行车停放点。暗示:这是上班族专用的。
痛点可视化。竞品写了270g。我们拍一张图,把头盔放在电子秤上,旁边放两个苹果做对比。意思比两个苹果还轻,佩戴无负担。竞品 写了Magnetic Goggles,我们拍一张模特戴着近视眼镜,轻松扣上护目镜的特写。表明近视福音,无需摘镜。

图片来源:卖家精灵
三,看用户痛点及优势
7% 的差评集中在灯光脱落。假设竞品月销1000单,退货率因此增加了5%,客单价$30。直接损失就已经很大,更不要说差评导致转化率下降,广告成本飙升。
改进方案
在开发新品时,给工厂下的死命令是:必须采用嵌入式或螺丝固定式尾灯,绝不能用磁吸或简单卡扣。
在Listing的图片中,专门做一张暴力测试图,展示狂甩头盔灯都不会掉。
用户喜欢Magnetic Goggles护目镜和Lightweight轻量。
这两个功能必须保留,且要放大。不要为了创新而把用户喜欢的点改没了。

图片来源:卖家精灵

图片来源:卖家精灵
四,看消费人群
竞品文案里充满了Aero dynamic空气动力学、Mountain Biking山地骑行,好像面对是专业骑行运动员。但是实际上买单的客户更多是城市通勤族,买头盔的原因是骑的是电单车,怕的是风沙迷眼,怕的是晚上被车撞。
建议把文案里空气动力学减阻改成夏天骑行不闷汗,发型不乱。把专业骑行装备改成城市穿梭的好帮手。

图片来源:卖家精灵
总结:
当竞品分析从几个小时,变成几分钟就可以获得的高质量报告,真正拉开差距的,就不再是工具本身,而是如何基于这些洞察去分享去执行。工具人人都会有,思维只有你自己有。
封面来源/图虫创意
(来源:必胜哥的三板斧)
以上内容属作者个人观点,不代表雨果跨境立场!本文经原作者授权转载,转载需经原作者授权同意。