已收藏,可在 我的资料库 中查看
关注作者
您可能还需要
独立站
AI_跨境出海峰会
立即报名
加入社群
独立站近期活动

爆料!Wish自营疑似跟卖第三方卖家爆款,背后神秘的Miss Liu是谁?

半年一个店铺1.9亿销量?

爆料!Wish自营疑似跟卖第三方卖家爆款,背后神秘的Miss Liu是谁?

自己的热销爆款被平台官方自营店跟卖应该是所有卖家都不想遇到的,此前这一情况已在亚马逊平台上出现过,而最近有卖家向雨果网爆料称,Wish平台似乎也出现此端倪。

据其透露,Wish店铺whitelabelviolet (店铺名称:whitelabelviolet)和whitelabelviolet002(店铺名称:W7 factory)上的部分商品疑似跟卖了平台第三方卖家店铺,甚至于有明显自动复制第三方卖家销售数据及评价的行为。

该卖家告诉雨果网:“点击进入这两家店铺,明显看出几乎绝大多数销量可观的Wish爆款都集中在此页面上,而这些爆款产品底部的销量,也都是分散在各个卖家店铺的产品销量总和。”如下图所示:

爆料!Wish自营疑似跟卖第三方卖家爆款,背后神秘的Miss Liu是谁?

爆料!Wish自营疑似跟卖第三方卖家爆款,背后神秘的Miss Liu是谁?

(卖家截图)

令他十分惊讶的是,甚至连带评论内容又自动打乱顺序复制至这家疑似Wish自营店铺中,尽管评论总数不同,但评论内容几乎是同一时间自动复制过去。

爆料!Wish自营疑似跟卖第三方卖家爆款,背后神秘的Miss Liu是谁?

爆料!Wish自营疑似跟卖第三方卖家爆款,背后神秘的Miss Liu是谁?

(图左为第三方卖家的店铺评论详情,图右为W7 Factory。)

该卖家表示,他从两方面的线索怀疑该店铺是Wish自营店铺:一方面,涉嫌跟卖的所有无品牌商品几乎都添加了Wish认证,而Wish有一个MB品牌商家入驻项目,能够让所有新上架的有品牌产品都自动加以认证,像该店铺里的无品牌商品也能加以认证的情况着实令人不解;另一方面,店铺里还售卖带有Wish logo字样的背包,事实上根据Wish政策,商户是不得上传带有Wish字样的任何产品。

爆料!Wish自营疑似跟卖第三方卖家爆款,背后神秘的Miss Liu是谁?

值得一提的是,通常情况下Wish第三方卖家店铺产品的销量几乎是由高到低排序,而疑似Wish自营店铺却并非如此,对此,卖家深感疑惑。

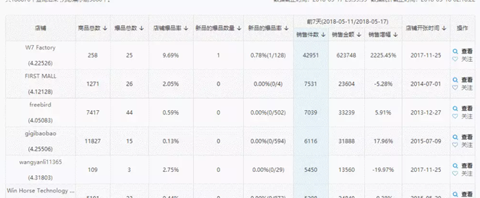
另外,卖家还提供了一份第三方数据(下图),显示W7 factory店铺商品总量258,爆品总数25,占比高达9.69%。该卖家表示,爆款率达到10%,这样的比例纵使是行业大卖家也不一定能做到,而在Wish平台上爆款的打造并不容易,和其他店铺能出现如此大的比例悬殊,实在令人生疑。

爆料!Wish自营疑似跟卖第三方卖家爆款,背后神秘的Miss Liu是谁?

据显示,W7 Factory开店时间2017年11月21日,在售产品414个,累计销量1700000+,产品均价$18.09,按这个预估累积销售额应该是:$18.09x 1700000=$30753000, 也就是¥193743900,仔细数一数,是的,你没看错,就是1.93亿人民币的营业额。

爆料!Wish自营疑似跟卖第三方卖家爆款,背后神秘的Miss Liu是谁?

爆料!Wish自营疑似跟卖第三方卖家爆款,背后神秘的Miss Liu是谁?

而在此次爆料中,诸多卖家都同时提到了一个名叫“Miss Liu”的神秘人物。据悉,这位叫Miss Liu多番找Wish上的第三方卖家采购他们店铺上的爆款,或者销量不错的商品。而据卖家们的透露,其可能是将采购的商品,找寻市面上可以供货的工厂加以生产,然后上架到上述提到的两家疑似“自营”的店铺。

早在2018年3月初,有关Wish或将做自营的消息也在跨境电商卖家圈传的沸沸扬扬。早前就Wish自营店铺的情况雨果网已与Wish官方确认,其虽表示平台没有开启自营业务,但确实有个项目的官方测试店铺,同时也不排除以后会做自营。

针对这一情况,雨果网与Wish多个大卖确认此事,均表示不排除这种可能,其中一大卖家表示,数据都掌握在平台手上,无论是哪个平台,都有可能。同时雨果网也与Wish官方进行确认,该负责人表示,目前正通过技术手段查看这两家店铺的情况。同时她也指出,如果对方是诚信店铺,也将会出现这样上述提到的Wish标识。截至发稿,Wish官方还未对此事做出正面官方回应。

(文/雨果网 陈林)

分享到:

--
评论
最新 热门 资讯 资料 专题 服务 果园 标签 百科 搜索

收藏

--

--

分享
陈木木
分享不易,关注获取更多干货