“亚马逊外套”Orolay羽绒服火了,要不要趁热打铁上架一款羽绒服?
抖音上“60秒沙拉”火得不要不要的,亚马逊上销量喜人,心痒痒也想跟卖?
作为卖家,当发现某款产品销量可观,或有热销趋势的时候,哪怕再想立刻采购上架,也要控制住自己的“洪荒之力”,以防有侵权风险!此时,你更应该做的,是了解该产品的知识产权情况,即先检索查询该款产品是否在相应国家有申请相关专利。
本期,积小特将以2018年的爆品“精灵球”为例,手把手教你如何进行基础的中美外观专利检索与申请。目前,在已知精灵球名字L.O.L SURPRISE!的情况下,如何进行专利检索?
最快的方式是通过产品信息查找权利人(即申请人或专利权人)。代理人通过L.O.L SURPRISE这个商标,查到该精灵球的申请人是MGA娱乐公司后,又该如何查询产品的相关专利呢?
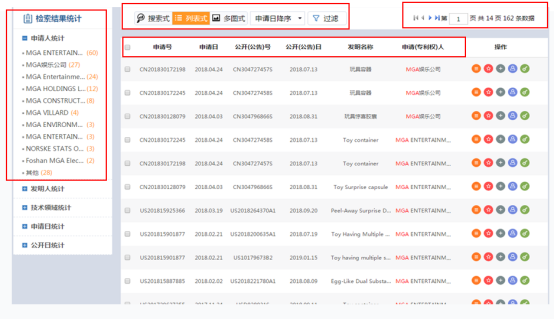
首先,打开中国专利网,点击“专利检索-高级检索”;
其次,在下方红色框中输入申请(专利权)人
通过上述操作,我们可以得到检索结果共14页,162条数据(见右上角红框)。专利代理人会在所有数据中逐一筛选排查,以选出与产品相关的专利;
经以上步骤后,如有筛选到产品相关专利,则需要对专利文件进行分析进而判断该专利的保护范围是什么,从而再考虑如果要跟卖,需要对产品如何进行设变以规避专利侵权风险。
除此之外,积小特在这里还向大家分享一些专利的小常识:
从以下中国专利文件中可以看到该专利的申请日、公开日,优先权号(了解该产品之前有在哪些国家申请)、优先权日、法律状态(可以了解该专利现在处于哪种状态)等信息。
其中,申请公布号的前2个字母代表国家,如CN代表中国;最后一个字母代表不同的专利类型:如 A代表已公开未授权的发明专利,B代表发明授权专利,S代表外观设计专利。

①打开uspto,根据需要点击左下角的PatFT或AppFT进行相关美国专利检索
②输入关键词查询,其中AND表示2个条件都满足,OR表示2个条件满足其一。输入的条件越多,查询出的范围越小。
③刚才在查询中国专利时,查到精灵球的优先权号之一是US15/471,973,输入号码查询后得到下图的结果
④点击进入,再点击图上的images,可查看具体的专利文件
美国专利文件长这样:
⑤看专利文件,重点是看发明专利的保护范围,以其权利要求书为准。
看了上述操作,是不是感觉专利检索很简单?可很多情况却是这样的:只有产品,其他信息都不知道;只有图片,其他信息都不知道;检索后的结果有成千上万条,得看到猴年马月?
如果确实对产品信息了解不多,也无法查知产品权利人,那只能用这一招——多种途径配合检索了。即将已知的信息填入相应检索框中(如发明名称、摘要、说明书、权利要求、关键词等),然后进行检索,且需使用不同的检索式进行多次检索,尽可能地检索到较多相关专利信息后再进行筛选、比对。
费了九牛二虎之力检索,终于皇天不负有心人——我们的产品还没申请专利。接下来怎么做?当然是尽快申请专利抢占先机啊!申请中美外观专利需要什么资料?别急呀,积小特为你一一道来。
申请中国外观专利:
①申请文件:即产品六面视图+立体图,产品名称;
②委托书
③申请人(公司名义:营业执照扫描件;个人名义:身份证照片)
④发明人姓名、身份证号、国籍
申请美国外观专利:
①申请文件:即产品六面视图+立体图(美国外观需要黑白线条设计图)
②产品名称及介绍
③申请人名称地址国籍、设计人名称地址国籍
相信聪明的你已经发现,在中国及美国的申请资料中都提到了产品六面视图,那中美外观专利在制图时又有什么差异呢?
中国专利法所说的外观设计产品是指一个不能分割的、完整的产品,该产品的各个组成部分不能单独出售或使用;但是《美国专利法》对外观设计产品的要求“任何新的、原创性的和装饰性的外观设计”须使用于特定的产品上,但并未规定该外观设计必须为完整的产品。
以行李箱的轮子为例,在美国,该轮子可以单独申请专利,但在中国,轮子必须和行李箱一同申请专利。这样一来,这个轮子的外观专利在中国的保护范围就会变小。故在申请美国专利时可采用部分外观设计的方法申请外观专利,以尽可能使保护范围足够大。
四、实用信息:专利检索网站(强烈建议收藏)
关于专利检索的知识本期就分享到这儿了~下期,积小特将与大家分享外观专利的侵权判定标准,小板凳搬好了,持续关注我们哦!
纳尼,你还没有看够?或是还有很多问题想咨询?请添加积特专利代理人summer的微信,现在联系还可享受专享优惠哦!专利检索仅199元,后期申请外观专利还可抵扣,这么划算,一般人我不告诉他!
(长按识别二维码添加微信)
以上内容仅代表作者本人观点,不代表雨果网立场!