9月16日美国专利局公布一批最新下证美国外观专利,其中包含不少热销产品,积特精选其中20款分享,若您有销售同款,需注意排查比对,不然有可能要面临侵权投诉和TRO等风险!
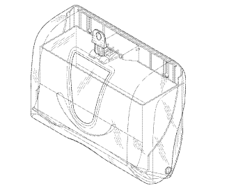
1.纸巾盒

专利名称:PAPER TOWEL DISPENSER
专利号:USD1093007S
申请日期:2023年2月6日
2.泳池灯

专利名称:POOL LIGHT
专利号:USD1093676S
申请日期:2025年2月12日
3.小夜灯

专利名称:NIGHT LIGHT
专利号:USD1093708S
申请日期:2025年3月13日
4.吸管盖

专利名称:STRAW COVER
专利号:USD1093052S
申请日期:2024年4月28日
5.吸顶风扇

专利名称:CEILING FAN
专利号:USD1093595S
申请日期:2022年4月22日
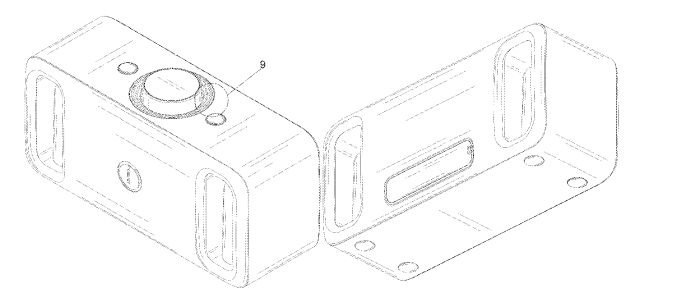
6.无线音箱

专利名称:WIRELESS SPEAKER
专利号:USD1093343S
申请日期:2023年10月19日
7.无线充电器

专利名称:WRELESS CHARGER
专利号:USD1093291S
申请日期:2024年9月30日
8.玩具枪

专利名称:TOY GUN
专利号:USD1093506S
申请日期:2023年11月24日
9.梳妆镜

专利名称:VANITY MIRROR
专利号:USD1092990S
申请日期:2023年9月12日
10.漂浮椅

专利名称:FLOATING CHAIR
专利号:USD1093530S
申请日期:2023年9月14日
11.灭蚊灯

专利名称:MOSQUITO KILLER LIGHT
专利号:USD1093543S
申请日期:2024年2月1日
12.旅行颈枕

专利名称:TRAVEL NECK PILLOW
专利号:USD1093016S
申请日期:2024年1月17日
13.减压玩具

专利名称:DECOMPRESSION TOY
专利号:USD1093502S
申请日期:2025年1月8日
14.滚轮按摩器

专利名称:ROLLER MASSAGER
专利号:USD1093641S
申请日期:2024年5月31日
15.儿童照相机

专利名称:CHLD CAMERA
专利号:USD1093458S
申请日期:2024年9月24日
16.带底座的哑铃

专利名称:DUMBBELL WITH BASE
专利号:USD1093515S
申请日期:2024年4月5日
17.宠物救生衣

专利名称:LIFE JACKET FOR PET
专利号:USD1093757S
申请日期:2024年12月6日
18.餐具储存架

专利名称:CUTLERY STORAGE
专利号:USD1093098S
申请日期:2024年8月6日
19.壁挂篮

专利名称:WALL HANGING BASKET
专利号:USD1093013S
申请日期:2025年3月28日
20.鼻毛修剪器

专利名称:SHAVER
专利号:USD1093739S
申请日期:2025年4月11日
本文章图片来源:美国专利局官网
封面来源/图虫创意
(来源:JOJO探跨境)
以上内容属作者个人观点,不代表雨果跨境立场!本文经原作者授权转载,转载需经原作者授权同意。