
近期,TRO案件频发!涉及多个日常生活用品,如毛球去除器、灯泡、风扇等,其影响力度极为显著!卖家务必提高警惕,若您销售相关产品,请尽快进行排查比对,以免面临TRO等法律风险!
案件信息:一侵权关键词:风扇灯
起诉时间:2025年10月15日起诉类型:外观专利
案件编号:25-cv-12597
原告:JJ Zhang
代理律师:Yk Law Llp
原告JJ Zhang是中国籍个人,持有“带灯的风扇”设计美国外观设计专利,且该产品在亚马逊等平台进行销售。

(来源:亚马逊 供图:方信国际知识产权)
本案为美国外观专利维权,专利号:US D1004815 S,该专利于2023年11月14日获得证书,未经授权,切勿使用!


(来源:USPTO 供图:方信国际知识产权)
案件信息:二侵权关键词:毛球去除器
起诉时间:2025年10月14日起诉类型:外观专利
案件编号:2025-cv-12530
原告:Tongxiang Simai Trading Co., Ltd.
代理律师:Reiner & Reiner, P.A.
Tongxiang Simai Trading Co., Ltd.是一家中国浙江的跨境公司,从事批发和零售业务,产品涵盖服装、日用百货等多品类。该公司自主研发便携式除毛器,能去除衣物、沙发等表面绒毛、宠物毛发及零食碎屑,满足日常使用且便于携带。

(来源:亚马逊 供图:方信国际知识产权)
本案为美国外观专利维权,专利号:US D1079130 S,该专利于2025年6月10日
获得证书。卖家需尽快排查,避免TRO冻结!


(来源:USPTO 供图:方信国际知识产权)
案件信息:三侵权关键词:LED灯泡
起诉时间:2025年10月10日起诉类型:外观专利
案件编号:25-cv-1111
原告:SMR Intelligent Ltd.
代理律师:Ni Wang & Massand, PLLC
SMR Intelligent Ltd.是一家中国台湾企业,专注智能化LED灯具及配件研发。该品牌以简约实用设计理念著称,产品广泛用于家居、办公和商业空间照明。多款LED灯具因安装便捷、兼容性强、发光稳定,获消费者和工程客户好评。

(来源:亚马逊 供图:方信国际知识产权)
本案为美国外观专利侵权,专利号:US D648876S;卖家切勿售卖外观相似产品,避免TRO冻结!


(来源:USPTO 供图:方信国际知识产权)
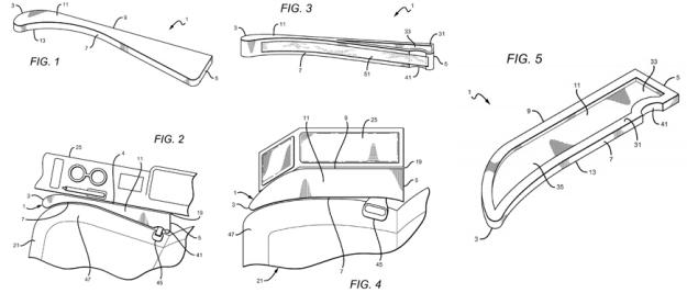
案件信息:四侵权关键词:车辆间隙防护装置
起诉时间:2025年10月10日起诉类型:发明专利
案件编号:25-cv-12456
原告:Jonathan Kotyk
代理律师:Dewitty And Associates, Chtd.
Jonathan Kotyk是一位来自美国的发明家,针对机动车辆座椅间隙导致零散物品易滑落、寻找过程耗时费力且存在驾驶安全隐患的问题,设计了一款车辆间隙防护装置。该装置能够完美适配车辆座椅最外边缘与最近隔板,且适用于各种尺寸的车辆。

(来源:亚马逊 供图:方信国际知识产权)
本案为美国发明专利维权,专利号为:US 7527314 B2,于2009年5月5日获得授权,未经授权,切勿使用!


(来源:USPTO 供图:方信国际知识产权)
案件信息:五侵权关键词:骷髅与猫
起诉时间:2025年9月30日起诉类型:版权
案件编号:2025-cv-11879
原告:Christina Menzel
代理律师:Keith
Christina Menzel是一位来自美国的插画家,她的作品因其独特的视觉风格和深刻的情感表达而备受赞誉。她尤其擅长描绘猫与骷髅肖像等对比鲜明的主题,这种强烈的反差组合使得她的作品在众多插画中脱颖而出。

(来源:https://cara.app/tiinamenzel/portfolio 供图:方信国际知识产权)
本案涉及12张骷髅版权画维权,已有99家店铺被TRO冻结账户资金。未经授权,请勿擅自使用!

(来源:https://cara.app/tiinamenzel/portfolio 供图:方信国际知识产权)
案件信息:六侵权关键词:Nyan Cat彩虹猫
起诉时间:2025年10月10日起诉类型:版权
案件编号:25-cv-12420
原告:Nyanify, Inc.
代理律师:Keith
Nyan Cat彩虹猫是一款跑酷游戏,凭借其可爱的外表和简易操作,游戏上线后在视频网络迅速走红。彩虹猫形象也深受大众喜爱,广泛应用于表情包、视频剪辑、插图及各类周边产品,形成了病毒式的传播效应。

(来源:https://www.nyan.cat/ 供图:方信国际知识产权)
本案为版权维权,版权号:Vau 1-063-390和 VAu 1-114-946,卖家切勿擅自使用!


(来源:https://www.nyan.cat/ 供图:方信国际知识产权)
案件信息:七侵权关键词:BIC打火机
起诉时间:2025年10月8日起诉类型:商标
案件编号:25-cv-02737
原告:BIC Corporation and BIC USA Inc
代理律师:KTS
BIC Corporation是一家全球知名的制造企业,该公司推出的BIC打火机,以其安全耐用和设计多样化的优势而广受赞誉,具备防爆阻燃、点火稳定、续航持久等显著特性,并且提供丰富多样的款式及联名款,以满足用户的多样化需求。

(来源:亚马逊 供图:方信国际知识产权)
本案涉及商标维权,包括BIC文字商标及打火机图形商标。未经授权使用该商标,可能面临TRO冻结风险!

(来源:USPTO 供图:方信国际知识产权)
封面来源/方信国际知识产权