已收藏,可在 我的资料库 中查看
关注作者
您可能还需要
独立站
DTC出海启航盛典
立即报名
加入社群
独立站近期活动
AI
智造爆款 · AI先行
立即报名
加入社群
近期活动
查看更多>

商标驳回的原因竟是“建国后动物不许成精”???

独特、新颖、有趣、辨识度高,最好就能让人过目不忘!然而......

商标驳回的原因竟是“建国后动物不许成精”???

商标作为传播商誉的载体,大家都希望自己的商标能够独特、新颖、有趣、辨识度高,最好就能让人过目不忘!然而,一些识别度高的商标名字却经常被驳回注册,比如:

29类商标“虾搞虾弄”(20146813)

与“瞎搞瞎弄”谐音,属于对语言文字的不规范使用,且具有消极贬损的含义,具有不良的社会影响。

(2018)京行终3624号

28类商标“不忘初心”(20033985)

具有特定政治含义,可能使政治因素与商业经营活动形成联系,可能对社会公共利益和公共秩序产生影响。

(2019)最高法行申3394号

42类商标“金融八卦女”(17908126)

格调不高,对我国社会主流文化价值会产生消极、负面的影响。

(2018)最高法行申1582号

商标驳回的原因竟是“建国后动物不许成精”???

有时候,真的会产生这样的疑问:

怎么就产生“不良的社会影响”了?

这种事,深圳的互联网大佬, 腾讯也遇到过。

腾讯动漫出品的《狐妖小红娘》是豆瓣电影中评分比前段时间火遍海内外的《哪吒:魔童降世》还高的国产动画片。全网播放量超过50亿,豆瓣评分9.2,这样的影响力和公众接受度是不容置疑的。

然而,腾讯就“狐妖小红娘”做出的商标布局之路,却走得不那么顺畅。

商标驳回的原因竟是“建国后动物不许成精”???

(“狐妖小红娘”中国9类商标)

商标驳回的原因竟是“建国后动物不许成精”???

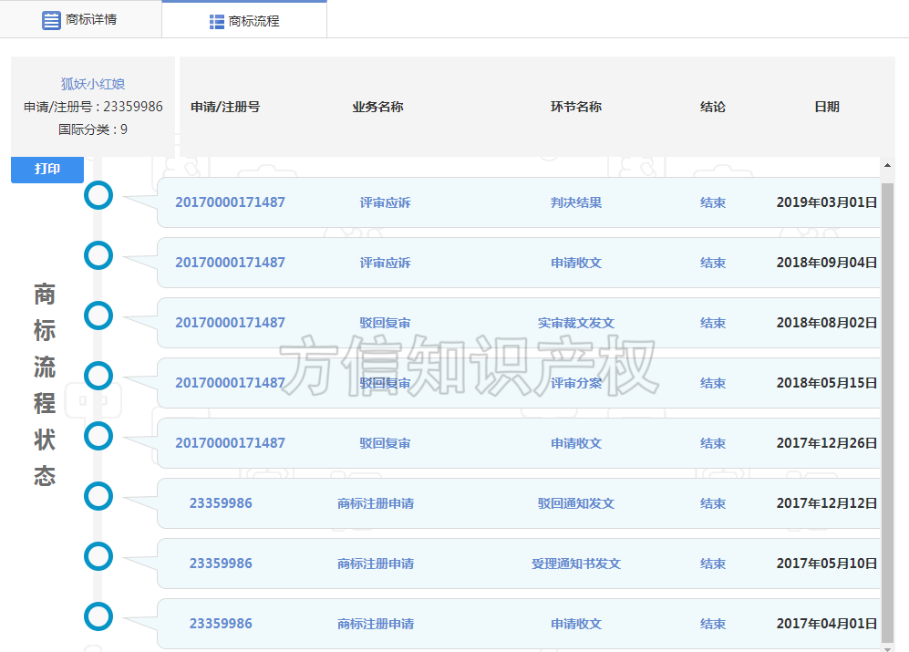
(“狐妖小红娘”中国9类商标流程)

以“狐妖小红娘”中国09类商标为例,该商标2017年由腾讯申请,商评委在审查中认为该商标的使用和注册易造成社会不良影响,驳回申请和复审。

腾讯于2018年提起行政诉讼,一审中北京知产法院认为商标名并无不当,判决支持腾讯的诉求。

国家知识产权局不服判决提起上诉,认为诉争商标包括“狐妖”二字,其注册和使用易造成社会不良影响。(国知局的理由不得不让人想起那句“建国后动物不许成精?”)

近日,北京高院在二审中根据《商标法》第十条作出判决,支持原判,驳回国知局的上诉请求。

北京高院认为:“狐妖”在文学领域通常是指通过修炼可以幻化成人形的狐狸,其本身并不当然具有贬义色彩,也并不当然指代反面形象。“红娘”在民间常指帮助别人结成美满婚姻的人。同时,文化部也已在先认定网络游戏《狐妖小红娘》不具有不良内容,符合国家法规要求并同意其出版运营。

可见,并不是动物成了精都会造成社会不良影响,带有神话色彩也不等于封建迷信。那么商标审查员在审查时,如何判断商标是否具有不良影响呢?

主要法律依据是《商标法》第十条第一款第八项中的“有害于社会主义道德风尚或者其他不良影响”。

而《商标审查标准》给出了更明确的界定:

“社会主义道德风尚”,是指符合我国人民共同生活及其行为的准则、规范以及在一定时期内社会上流行的良好风气和习惯。“其他不良影响”,指商标的构成要素对我国政治、经济、文化、宗教、民族等社会公共利益和公共秩序产生消极的、负面的影响。其判定应考虑社会背景、政治背景、历史背景、文化传统、民族风俗、宗教政策等因素,并应考虑商标的构成及其指定使用的商品和服务。

总体来说,商标是否具有不良影响,要考虑到商标各个构成要素和其传达的价值理念是否与政治、经济、文化、宗教、民族等社会公共利益和公共秩序相违背。

如果你的商标有以下这些特征,可能就踩了“不良影响”的红线:

1.篡改语言构成

比如“虾搞虾弄”(20146813),“纸气东来”(20628917),“求真务食”(21324680)。

2.拆改、使用不规范的汉字

一般是字体设计中,如“盛妆”(25337364),“完美校园”(23505298)。

商标驳回的原因竟是“建国后动物不许成精”???

商标驳回的原因竟是“建国后动物不许成精”???

3.格调不高

如“液总会”(20526478),“流弊”    (21903952),“爱上榴芒”    (21693149)。

4.政治不良影响

如“不忘初心”(20033985),“习礼”    (11878383),“911”(27105141)。

也许就像“植物大战僵尸”商标案中最高院的解读,商标权首先是一种民事权利,应当遵循公序良俗,有悖于普遍公认的传统或道德的内容,不适合作为商标使用。对公序良俗的内涵,应参照法律法规内化或者裁决判定确认的规则,以及一定时期公众对道德观念的普遍认知和法律所应反映的价值追求。

一千个人眼中有一千个哈姆雷特,商标的审查同样如此。对于商标名是否具有“社会不良影响”,一方面受制于审查人员的主观判断,在品牌布局时应充分调查备选商标名称的含义和影响力,避免擦边球,以降低驳回的可能性。另一方面,商标驳回不意味着只能坐等失效,必要的争取也许会带来不同的机遇。

更多商标信息及案例分享,点击此处了解详情>>>

分享到:

--
评论
最新 热门 资讯 资料 专题 服务 果园 标签 百科 搜索

收藏

--

--

分享
方信国际知识产权
分享不易,关注获取更多干货