已收藏,可在 我的资料库 中查看
关注作者
您可能还需要
独立站
爆款孵化/政策补贴/AI赋能
立即报名
加入社群
独立站近期活动
卖家社群
跨境同行交流平台
查看更多
亚马逊社群
招商政策、运营进阶资料、业绩增长交流>
TikTok社群
招商政策、运营进阶资料、业绩增长交流>
独立站社群
招商政策、运营进阶资料、业绩增长交流>
Ozon社群
招商政策、运营进阶资料、业绩增长交流>
Shopee社群
招商政策、运营进阶资料、业绩增长交流>
沃尔玛社群
招商政策、运营进阶资料、业绩增长交流>
您的专属活动管家
点击添加
本地跨境资源
查看更多
深圳卖家社群
同城跨境资源交流,本地活动抢先知>
广州卖家社群
同城跨境资源交流,本地活动抢先知>
杭州卖家社群
同城跨境资源交流,本地活动抢先知>
宁波卖家社群
同城跨境资源交流,本地活动抢先知>
福建卖家社群
同城跨境资源交流,本地活动抢先知>
成都卖家社群
同城跨境资源交流,本地活动抢先知>
您的专属活动管家
点击添加
精品系列活动
查看更多
平台招商活动
平台活动综合社群,get主流平台活动方向>
运营增长活动
多城巡回式分享交流,直连官方解决疑难>
品类系列活动
选品、爆品交流分享,还能参加探厂计划直链源头>
亚马逊系列活动
亚马逊平台动向直击,入门进阶一手扶持>
独立站系列活动
独立站长期布局策略,全面解析新增长路径>
美客多系列活动
多场次、多品类,市场解读&美客多平台政策>
您的专属活动管家
点击添加
雨果X产业带系列
查看更多
时尚品类社群
选品技巧、品类指南、探厂品类源头工厂>
服装内睡社群
选品技巧、品类指南、探厂品类源头工厂>
大件家居社群
选品技巧、品类指南、探厂品类源头工厂>
美妆个护社群
选品技巧、品类指南、探厂品类源头工厂>
家电品类社群
选品技巧、品类指南、探厂品类源头工厂>
其他品类社群
选品技巧、品类指南、探厂品类源头工厂>
您的专属活动管家
点击添加

国际航运“大动脉”被切断!卖家需当心货代“阴谋”

众所周知,受全球新冠疫情影响,外贸人在物流运送上面临着巨大的不确定性。

国际航运“大动脉”被切断!卖家需当心货代“阴谋”

众所周知,受全球新冠疫情影响,外贸人在物流运送上面临着巨大的不确定性。

但跨境卖家们怎么也没想到一艘搁浅的货轮能切断全球贸易的命脉,进而引发全球网友的持续关注,受此影响,国际航运乃至货运都被波及。

01

巨轮搁浅苏伊士运河

亚欧大动脉被“切断”

埃及苏伊士运河管理局当地时间24日发表声明称,一艘长400米、重22.4万吨的重型货船23日在苏伊士运河新航道搁浅,造成航道拥堵。据悉,该货船是长荣海运的超大型货柜轮“长赐”号(Ever Given),由于尺寸巨大,救援工作可能需要时间。

国际航运“大动脉”被切断!卖家需当心货代“阴谋”

图源于微博@环球财经杂志社

根据彭博新闻社统计的数据,截至24日晚共有185艘船在排队进入运河,大部分是散货船、集装箱船和油轮。彭博社估算,航道拥堵造成的损失约为每小时4亿美元如果堵塞持续,货轮可能将不得不改道绕行非洲好望角,这意味着航行时间将延长一周。

国际航运“大动脉”被切断!卖家需当心货代“阴谋”

(大量货轮堆积在运河入口处)

(来源:vesselfinder)

苏伊士运河是连接地中海与红海,贯通欧亚非三大洲的重要国际海运航道,全球贸易的约12%要经由这条运河输往各地。分析师认为,如果不能尽快疏通河道,将对全球航运、油价和供应链造成影响。

然而,这样一个交通要塞却只有200多米宽,长赐号有400米长,这能不卡吗?

综合多家媒体报道,目前针对搁浅在苏伊士运河中的Ever Given巨型集装箱货轮的援救工作已经暂停,预期将在埃及当地时间周四早上恢复,届时将有外国救援队携重型机械进场。

苏伊士运河搁浅船只最新消息:截止侃妹发稿前(25日17:30),据法新社,由于航线堵塞,苏伊士运河目前暂停通航。

02

长赐号被网友玩坏

卖家最担心自己的货物

据悉,这艘船船东是长荣,运营商是德国贝什船舶管理公司,该船所属企业的员工,自己都说“德国人1942没打下来埃及占领苏伊士运河,我们公司2021做到了!”,如果懂历史的卖家,此时一定已经开始笑了。从昨天开始,这艘船就已经属于被不少网友玩坏了的节奏。

我们的朋友圈和社群内,一定都被这些图刷屏了,简直是从一艘船映射到了我们的生活。

国际航运“大动脉”被切断!卖家需当心货代“阴谋”

图源于网络

国际航运“大动脉”被切断!卖家需当心货代“阴谋”

图源于网络

类似这两张的图片已经在各大社交平台传疯了,现在船的挪动问题不仅关系着跨境人,还关系全球人,毕竟这艘船把苏伊士运河堵住了,它的身前后还有一堆船等着它动,用“大排长龙”来形容也不为过。

国际航运“大动脉”被切断!卖家需当心货代“阴谋”

图源于网络

调侃归调侃,对于卖家而言最担心的还是海运的准班率和运费。

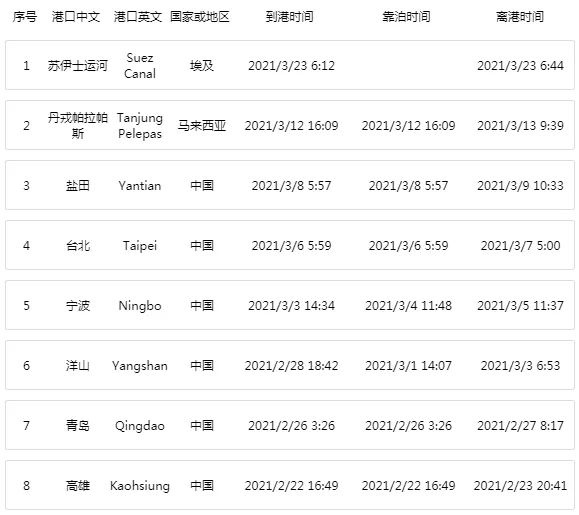
据船讯网信息显示,涉事船舶载有中国货物,曾挂靠盐田、宁波、青岛、洋山、台北等港口。共舱的船公司可能有:APL、CMA CGM、COSCO SHIPPIN、OOCL,此次事故预计对国内的货主和货代影响不小。

国际航运“大动脉”被切断!卖家需当心货代“阴谋”

基于此,不少跨境卖家也对此事发表了自己的看法。

卖家A:对于我每天零散几单的单量,丝毫不受影响,内心是平静的。

卖家B:运费上涨,成本涨,物价接着涨

卖家C:完了,运费又要涨价了,做外贸的哭死了。

国际航运“大动脉”被切断!卖家需当心货代“阴谋”

还有卖家说“这船以一己之力扼住了世界经济的咽喉,也扼住了我一个小卖的脖子啊”,可见这艘船的影响之大。

03

某些货代“阴谋”落空

运价是否飙升?专家这样说

此次苏伊士运河船只搁浅事件,确确实实引起了全球经济的动荡。

苏伊士运河是全球最重要航道之一,也是连接亚洲和欧洲之间的最短海上航线。数据显示,全世界22%的集装箱都从苏伊士运河通过,约占全球贸易的10%。如果航道持续延误,必将冲击全球供应链。

业内人士分析,若航道恢复需要较长时间恢复(如一周以上),或将从两方面造成全球性影响。

一是或影响全球能源供给。苏伊士运河为中东向欧美和亚洲地区运输原油的咽喉,日均原油运输量约60-100万桶,占全球油品运输约10%。《华尔街日报》报道称,共有29艘运送原油、石油产品或液化天然气的油轮被堵在北侧航线,另外15艘被堵在南侧。

二是集运运费或再次上涨。除开卖家的货物延误,运费一定是卖家最关心的一点。目前集运行业正处于供需偏紧的状态,本次事件或进一步加剧运力紧张的局面,可能导致目前处于高位的运费再次出现上行,这也是对于跨境卖家最直接的影响。

另外还有不容忽视的一点,那就是因此事产生的“阴谋”套路。

众所周知,外贸行业一旦有任何风吹草动,某些货代或者服务商就开始煽风点火,趁机涨价,也闹得一众卖家哑巴吃黄连。这一次,也是如此,有卖家在微博发文称“不要被国内货代的虚假信息带偏”。

国际航运“大动脉”被切断!卖家需当心货代“阴谋”

有网友说:“货代刚刚也这么说,还说赶紧发货要不然要涨价了。”可惜,这一次,某些货代白高兴了一场。

国际航运“大动脉”被切断!卖家需当心货代“阴谋”

运价是否飙升?

上海某证券研究公司现代服务业研究部交运物流首席分析师闫海在接受第一财经记者采访时表示,“如果持续时间长的话,运价肯定会上涨。但业内判断,目前来看不是太严重,如果能在2~7天内解决,运价就没有炒作的空间了。历史上运河出现搁浅事件经常发生,如果没有战争、恐怖袭击等因素,一般2~3天可以解决。

04

如何防范货单套路?

优质货代怎么选?

物流上一出什么事,不少货代和服务商的反应就是涨价,这是他们一贯的套路,那么我们应该如何识别,以及挑选优质货代呢?

有卖家早在去年就已经总结了以下两点,以此防范某些货代或者服务商的套路:

如何快速有效的挑选优质货代

第一:看货代公司营业执照成立时间。成立时间首选一年以上的,原因如下:成立时间短,渠道不够成熟存在安全隐患,如果货物出事防止钓鱼公司,就是你的货物一出事能随时跑路的那种,也专门有这种专业的骗子公司,换个抬头又可以继续收货了。

第二:看丢件赔偿条款。一般赔偿高的都是对自己渠道有信心的,当然成正比,物流运费会比赔偿低的货代公司高一点。如果你只看重价格,不在乎质量,那么优质的货代很有可能被你淘汰。

第三:查该货代公司有没有法律纠纷。如果有建议慎重选择,一般有纠纷的都不好说话才会被起诉,避免遇到老赖。

第四:货代大型物流公司。优势:长期稳定,风险把控能力强,有后端处理能力,会优化各个环节的时效,他们能完成装柜,自己预订航班,账号时间长,

谨防货代或者服务商套路

有些货代承诺给到你的海运价格很低,比市场还低,你真的敢走吗?

价格低的,可以操作税率,也可以成为一些敏感货的附带品。这样的货代会增加查验的几率,查验几率大了,对我们影响就大了,轻则延误7天半个月,重则迟迟不能处理,一直扣关,直至销毁,然后无限纠纷。

另外,很多时间公司再大,再好,你接触的货代不负责,你人都找不到,这个是非常头痛的事情 。如果接触你的货代当出现一些问题的时候,帮你及时处理,及时跟进,及时与你反馈,即他们公司的价格、服务、时效都还不错,那么恭喜你,可以不用换货代了。长期合作下来,大家都是相互的支持、理解、配合的合作伙伴!

想必大家想要的也是这样的合作伙伴,才能帮助自己在跨境电商的道路越走越远。

写在最后

从历史上看,大型船只搁浅苏伊士运河的案例并不少见。2016年和2017年,也都发生过类似事故,不过在拖船的配合下,大多都在短时间内得以解决,未对运河通行构成重大威胁,也未引起国际市场的警觉。 只是这次出事的巨轮“EVER GIVEN”体积太过庞大,给救援工作带来了不小的困难。究竟多久能疏通?侃妹觉得各位卖家不必太过担忧,要知道眼下最着急的是埃及政府啊!苏伊士运河可是他们国家的“摇钱树”。去年虽受到疫情影响,苏伊士运河收入依然达到56.1亿美元。 各位卖家一方面可以及时关注此事的进一步消息,根据航道的恢复情况适时调整物流策略;另一方面,还是要做好运营本业。

据船讯网显示,截止25日18:40,Ever given的状态如下图所示,仍横在苏伊士运河中间。

国际航运“大动脉”被切断!卖家需当心货代“阴谋”

(来源:侃侃跨境那些事儿)

以上内容属作者个人观点,不代表雨果跨境立场!本文经原作者授权转载,转载需经原作者授权同意。

(来源:侃侃跨境那些事儿)

免费在线咨询
联系雨果跨境顾问,在线为您答疑!
我想问
免费咨询
未注册的手机号将自动创建新账号,且代表您已阅读并同意雨果跨境 《用户协议》 《隐私协议》 《个人信息授权书》

分享到:

--
评论
最新 热门 资讯 资料 专题 服务 果园 标签 百科 搜索

收藏

--

--

分享
侃侃跨境那些事儿
分享不易,关注获取更多干货