有卖家收到佛罗里达南区法院的邮件被起诉专利侵权,据了解原告是中国企业,主打钟表类的产品,案件号22-cv-61705。
品牌介绍
原告是一家中国香港企业,其业务主要是关于时钟、挂钟、闹钟。
侵权的专利情况
美国发明专利US007477***B2
带智能背光的时钟
图片来源:https://www.pacermonitor.com/dashboard
本发明涉及一种带智能背光的时钟,装置包括外壳、电源、计时元件、印刷电路板、时间设置按钮等。电源以干电池的形式放置外壳的电池盒内,外壳里面有背光装置及背光源,背光源装置设置在计时元件的背面。印刷电路板安装有集成电路,其第一输出驱动和控制时序组件,其输入连接到时间设置按钮,而其第二个输出驱动和控制背光源通过一个光敏电阻和一个串联连接的电子开关。
本发明采用干电池供电,并由低电压低电流工作。此外,它可以根据周围环境亮度的变化自动打开或关闭背光,使用方便,还可以延长电池寿命,从而节省资源。

▲时钟正面
图片来源:https://www.pacermonitor.com/dashboard


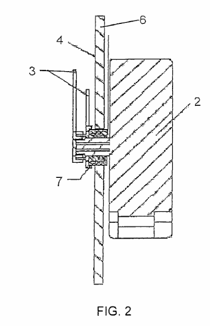
▲时钟内部结构的横断面视图
图片来源:https://www.pacermonitor.com/dashboard

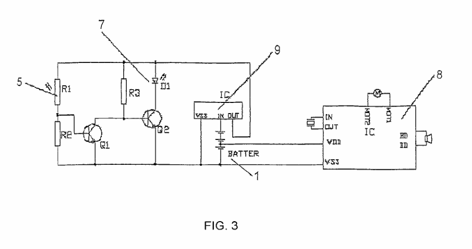
▲电路图
图片来源:https://www.pacermonitor.com/dashboard
图1到图3说明了具有智能背光装置的时钟的本发明实施例。本实施例是一种模拟时钟,包括:机壳、电源1、印刷电路板、时间设置按钮、时钟机芯2、时钟指针3、时钟表面4、光敏电阻5、扩散板6、发光二极管7等。发光二极管的光线有效地折射在扩散板上,提供均匀的光线,通过时钟表面的透明部分发射,照亮时钟表面上的数字和图形。时钟指针也是由透明的扩散塑料薄膜制成,它们有效地折射光线。
当周围环境的照度低于10勒克斯时,电阻将增加链接电子开关,使发光二极管发光。除了通过光敏电阻外,还能通过控制发光二极管的集成电路,能连续发光10个小时。



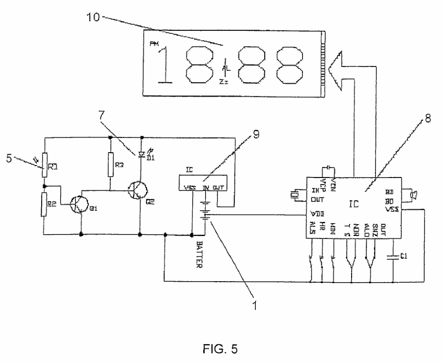
▲电路图
图片来源:https://www.pacermonitor.com/dashboard
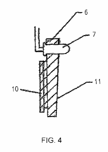
图4到图5,扩散板设置在LCD器件10的背面,由透明扩散塑料薄膜制成,其中部有发光二极管,背面有反射涂层。发光二极管垂直于扩散板,光强较低的发光二极管的中部设置在扩散板的中部,在该中部光线被有效折射,这提供了通过LCD设备发射的光线来照亮LCD屏幕。
常强调跨境出海第一门槛是合规合法经营,即便跨境电商日臻完善平台规则,也阻挡不了想要坐快车的卖家,车速过快方向盘不稳,迟早会出事。
Q4在即,爆单日销量剧增,不要因为专利侵权错过了旺季营销的最佳机会。看似简单的产品也会有专利保护,中招后轻则下架链接,重则封店冻结资金。
(来源:聚德Ivy)
以上内容属作者个人观点,不代表雨果跨境立场!本文经原作者授权转载,转载需经原作者授权同意。
收录于以下专栏