企业如下定决心走技术路线,以技术为手段参与市场竞争,则应当重视屯积策略。
“屯积”即积累专利数量,是从数量的角度来谈专利策略的。在初始阶段,企业应尽可能多地申请专利。为什么需要申请很多专利?难道一件、两件、数件专利就没用吗?当然有用,但它们尚不足以支撑专利竞争,难以形成专利网,难以有效保护自己的产品和挤压竞争对手。如航母战斗群,只有相当数量的专利聚在一起,才能形成真正的战斗力。点击咨询
以往我们接触的原告中,相当一部分企业仅拥有为数不多的几件或十来件专利,而其中真正能够用来打侵权官司的也就一、两件。其实,这样的专利结构不可能满足购买者多层次需求,也很难为产品建立起保护网,更谈不上用专利手段挤压竞争对手的商业空间:
一、少量的专利说明企业的创新不足,这难以有效满足购买者多层次需求
企业若想靠技术赢得一席之地,必须通过大量创新,用技术来满足购买者的需求,而现实中,购买者的需求往往是多角度、多层次的,这就是我们平常所称的细分市场。在某一市场(如小汽车市场、电饭锅、电视机市场),虽然大企业会给自己的产品进行定位(如奔驰汽车讲求乘坐人的舒适,宝马汽车宣传驾驶员的快感,沃尔沃则以安全为其首要目标),但支撑这些定位的技术往往不只限于这些定位所直接需要的技术:奔驰、宝马、沃尔沃在环保、使用寿命等方面的技术并不比一些汽车差。因此,如企业想更好地赢得市场,在一个点上栓住购买者的“胃”往往是不够的,适当地在相关的其它领域进行必要的研究很有必要。这就决定了作为研究成果表现形式的专利数量肯定是众多的,而不是单一或少量的。
二、少量专利很难为产品建立起保护网
通常来讲,一件受市场热捧的产品会有多个创新点:iphone手机在刚推出市场时,外形美观、大方,内存大,上网数度快,摄像头像素足够高,还可以下载、删除APP。专利要求单一性,多个创新点靠一件或几件专利来保护是不可能的,只有数十、数百,甚至数千件专利才可能为这样的流行产品建立起牢固的法律保护网。点击咨询
三、少量专利往往不足以应对竞争对手发起的无效诉讼
如现代化军队需要陆军、空军、海军、战略导弹部队联合作战一样,一件专利毕竟太单薄了!对于一些热门产品涉及的专利,竞争对手会“削尖了脑袋”申请宣告它们无效。大家所熟知“伟哥”万艾可产品涉及的专利技术就经历了长达多年的跌宕起伏的无效之路。一些媒体曾报道,“用于治疗阳痿的吡唑并嘧啶酮类”的(“伟哥”万艾可产品涉及的专利,号码:94192386.X号)技术在中国获得专利授权后,国内就有十多家企业向国家知识产权局专利复审委员会提出申请,请求宣告“伟哥”万艾可专利无效。2004年,国家知识产权局专利复审委员会作出决定,宣告该专利无效。在经过北京市第一中级人民法院一审后,北京市高级人民法院在2007年二审判决时,国家知识产权局专利复审委员会的无效决定才被最终撤销,专利权利人美国辉瑞公司才得以松了口气。国家知识产权局专利复审委员每年审理大量的专利无效宣告案件证明了专利是可以被动摇的。
既然“屯积”策略重要,那我们该怎样运用该策略?
用文字来说明技术问题不是一件容易的事。为把这一问题简单化,我们一起来看看下述某鱼缸企业的专利申请过程。
某鱼缸生产企业成立于2004年,拥有固定资产1亿多,也拥有某省著名商标。从2007年申请第一件专利开始,该公司共申请了8件发明或实用新型专利。
012007年专利(基础专利)
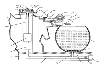
在2007年,该公司申请了下述中国实用新型专利一件,该专利主要是用来提高鱼缸的观赏性和解决鱼缸换水不便问题。


本实用新型涉及一种使用方便、观赏性高的观赏鱼缸,包括贮水缸和底座,其特征在于贮水缸放置在底座上,底座位于贮水缸旁边的位置片设置假山,在贮水缸底部引出的吸水管与水泵的进水口相通,水泵的出水口高于贮水缸的上开口而且对着水槽的最上端,假山上的水槽由上至下迂回曲折且其下端的出水口延伸到贮水缸上方;所述水泵的水叶位于贮水缸位线以下;水泵通电后经吸水管吸入贮水缸内的不,然后送到假山上的水槽上游,使水流沿着水槽向下回流到贮水缸内;使观赏鱼缸成为有山有水有鱼的景观,观赏鱼缸内的鱼在游动而假山上有水流动,从而使观赏鱼缸内外都有动感,给人一种鱼缸内外都具有活力的感觉。
该企业在专利文件中提出了如下独立权利要求:
一种观赏鱼缸,包括贮水缸和底座,其特征在于在贮水缸放置在底座,底座位于贮水缸旁边的位置处设置假山,在贮水缸底部引出的吸水管与水泵的进水口相通,水泵的出水口高于贮水缸的上开口而且对着水槽的最上端,假山上的水槽由上至下迂回曲折且其下端的出水口延伸到贮水缸上方;所述水泵的不叶位于水缸水位线以下。
022008年的第1件专利申请
在2008年,该公司继续在鱼缸美观角度研发,当时申请了数件专利。这些专利主要是将植物与鱼缸结合,提高观赏性。
2008年第1件专利:
本专利公开了一种花瓶鱼缸,包括鱼缸和花瓶,所述花瓶位于所述鱼缸上方,且其底部设有与所述鱼缸内腔相通的通孔,所述花瓶内部设有冰花状无土营养体,所述鱼缸设置在内置有循环水泵入口的出水孔,循环水泵底部设有连通其内腔和循环水泵入口的出水孔,循环水泵的出水管道从所述花瓶外侧延伸至其开口处。本发明的优点是:将花瓶和鱼缸叠放,上面是植物景观,下方是水体景观,可以种植包括陆生植物在内的各种植物,选择多样性好,水体生物产生的固体物质作为植物的营养来源,很容易建立和保持生态平衡,其整体观感强,造型别致,极具强烈的观赏装饰效果。


该专利文件中要求保护的主要技术方案(权利要求1)是:
一种花瓶鱼缸,包括鱼缸和花瓶,其特征在于,所述花瓶位于所述鱼缸上方,且其底部设有与所述鱼缸内腔相通的通孔,所述花瓶内部设有冰花状无土营养体,所述鱼缸设置在内置有循环水泵入口的出水孔,循环水泵底部设有连通其内腔和循环水泵入口的出水孔,循环水泵的出水管道从所述花瓶外侧延伸至其开口处。
032008年的第2件专利申请
本专利公开一种生态山水鱼缸,包括鱼缸和景观造型体,所述景观造型体由带底座的下造型体和上造型体组成,下造型体内设置循环水泵及过滤装置,所述鱼缸设置在底座上,其底部设有一端与所述过滤装置入水口通过管道相连、另一端与所述鱼缸内相通的弯头,上造型体设置在下造型体上,且设有向所述鱼缸上方延伸的水流通道,循环水泵的出口管道延伸至该水流通道处。本发明的优点是:水循环装置内藏式设置,使鱼缸和景观造型体更和谐完美的结合,容易实现山水景观和鱼缸内生物共同构成自然的生态效果,生态系统的稳定性高,观赏性更强,部件容易实现标准化,便于生产,同时还可以灵活组配,产品的多样性强。


该公司要求保护的主要技术方案(权利要求1)是:
一种生态山水鱼缸,包括鱼缸和景观造型体,其特征在于,所述景观造型体由带底座的下造型体和上造型体组成,下造型体内设置循环水泵及过滤装置,所述鱼缸设置在底座上,其底部设有一端与所述过滤装置入水口通过管道相连、另一端与所述鱼缸内相通的弯头,上造型体设置在下造型体上,且设有向所述鱼缸上方延伸的水流通道,循环水泵的出口管道延伸至该水流通道处。点击咨询(https://www.cifnews.com/product/11739/services)
042008年的第3件专利申请
本专利公开了一种花瓶鱼缸,包括鱼缸和花瓶,所述花瓶位于所述鱼缸上方,且其底部设有与所述鱼缸内腔相通的通孔,所述花瓶内部设有冰花状无土营养体,所述鱼缸设置在内置有循环水泵的鱼缸座上,所述鱼缸底部设有连通其内腔和循环水泵入口的出水孔,循环水泵的出水管道从所述花瓶外侧延伸至其开口处。本实用新型的优点是:将花瓶和鱼缸叠放,上面是植物景观,下方是水体景观,可以种植包括陆生植物在内的各种植物,选择多样性好,水体生物产生的固体物质作为植物的营养来源,很容易建立和保持生态平衡,其整体观感强,造型别致,极具强烈的观赏装饰效果。


该公司要求专利保护的主要技术方案(权利要求1)是:
一种花瓶鱼缸,包括鱼缸和花瓶,其特征在于,所述花瓶位于所述鱼缸上方,且其底部设有与所述鱼缸内腔相通的通孔,所述花瓶内部设有冰花状无土营养体,所述鱼缸设置在内置有循环水泵的鱼缸座上,所述鱼缸底部设有连通其内腔和循环水泵入口的出水孔,循环水泵的出水管道从所述花瓶外侧延伸至其开口处。
052008年的第4件专利申请
本专利公开了一种生态水培鱼缸,包括缸体和循环水泵,其特征在于,所述缸体内设有定植篮,所述循环水泵的出水管道连接至定植篮处。本实用新型的优点是:造型独特,整体观感强,有效的将植物养殖和水族养殖协调统一,可观赏性强,景观植物的选择多样,生态系统容易保持,有效利用空间,装饰性效果好。


该公司要求的主要技术方案(权利要求1)是:
一种生态水培鱼缸,包括缸体和循环水泵,其特征在于,所述缸体内设有定植篮,所述循环水泵的出水管道连接至定植篮处。
062011年的专利申请
在2011年,该公司又申请了一件实用新型专利。该专利主要是将LED灯植入鱼缸。
本专利公开了一种带高光效LED灯鱼缸,包括鱼缸盖,其特征在于:所述鱼缸盖上设有LED照明装置。本实用新型的鱼缸盖上设有LED照明装置,LED照明装置包括与电源连接的电路板,电路板上设有驱动芯片及LED灯珠,采用LED灯珠不仅光照亮度高,而且寿命长,从而提高了鱼缸的档次。


该公司要求专利保护的主要技术方案(权利要求1)是:
一种带高光效LED灯鱼缸,包括鱼缸盖,其特征在于:所述鱼缸盖上设有LED照明装置。
结果:2011年后,该公司再无提出新的鱼缸发明或实用新型专利申请。
如果大家是该公司的竞争者,大家想想看,这些专利对大家会形成压力吗?很难!简单说两点:
1、专利数量太少,专利点太单一,在购买者关心的若干个点上没有给竞争者建立起足够的技术壁垒。
从上述专利申请时间分布和技术特征看,该公司的专利基本上以解决鱼缸美感为主,采用的手段是将假山、花瓶、景观造林、LED等现有的物品与鱼缸结合,来提高观赏性。对大多数普通市民来讲,除了美观外,更多人可能更关心鱼缸如何方便使用:例如,白领上班或出差时,金鱼如何喂养?这需要机械或电子控制技术来设定给金鱼投食、换水、充氧的间隔时间。在2007年,我们在工业生产领域其实早就有了类似的技术,只是没有人把它们运用到鱼缸上而已。该公司的竞争者完全可以从自动投食、换水、充氧角度出发,研究鱼缸技术,进而打动购买者,插入鱼缸市场。
2、上述部分专利的权利要求撰写质量有待进一步提高,不能充分保护专利权利人的发明创造。
对于2007年专利的权利要求1,我们在下面的文字中用黑体字列出了这项专利的弱点,这些弱点很可能会让竞争者规避这件专利。如果专利数量太少,一旦有专利被规避,则很难会有别的专利对竞争者构成制约。
一种观赏鱼缸,包括贮水缸和底座,其特征在于在贮水缸放置在底座上,底座位于贮水缸旁边的位置处设置假山(注:花或装饰性的其它物品有可能可以规避本技术特点),在贮水缸底部(注:不一定需要在底部,中、下部是否也可以?)引出的吸水管与水泵的进水口相通,水泵的出水口高于贮水缸的上开口而且对着水槽的最(注:这样的表述很脆弱)上端,假山上的水槽由上至下迂回曲折(注:采用直线形水槽似乎也可以)且其下端的出水口延伸到贮水缸上方;所述水泵的水叶位于贮水缸水位线以下。
如果不适用等同原则,这些表述会让这件专利几乎失去了保护专利权人的目的,更不用说给到竞争者造成压力。
屯积之法,要求企业用大量专利建立起防止竞争对手侵入自己目标市场的“护城河”,这是防守战法。如想主动些,打进攻战, 需要用更多的专利来封锁竞争者,把他们围在一个狭小空间内。无论哪种战法,一件、几件或几十件专利几乎是无法做到的,竞争对手总会有办法绕开这些专利。坚固的专利“城墙”往往需要几十、数百件专利来护卫一件产品,这才可能给竞争对手建立起进入市场的技术壁垒。因此,一件或数件写得再完美的专利,也是脆弱的。要想用专利对竞争对手形成战略威慑,必须要用“钉子”精神在多个点、在纵深方向创造发明更多的先进技术,并将这些技术申请成为一系列专利组合,形成一张用专利编织的网。
(编辑:江同)
(来源:荣哥跨境律师团队)
以上内容仅代表作者本人观点,不代表雨果跨境立场!如有关于作品内容、版权或其它问题请于作品发表后的30日内与雨果跨境取得联系。