最近的顶流非《黑神话:悟空》莫属,上线便占领各大热搜榜、Steam在线人数突破一百万人、全平台销量超450万份、销售额超15亿……火爆程度有目共睹。


作为首款国产3A游戏大作,《黑神话:悟空》带货能力也很顶,不仅吸引瑞幸咖啡、滴滴青桔、京东等非游戏产业链品牌的跨界合作,且联名效果也超乎预期,比如瑞幸的联名产品上线秒售罄。

跨境卖家闻风而动
《黑神话:悟空》如此火爆,跨境卖家自是不甘落后。搜索发现,各大电商平台已有不少相关产品上架。比如亚马逊上已上架紧箍圈、指环项链、金箍棒、游戏手柄、主题T恤等产品。

据透露,某深圳独立站卖家日销售额达到了惊人的3万美元,还有卖家上架金箍棒产品不仅销量不俗,还收获了4.7的高分评价。除实体周边产品外,与黑神话悟空相关的域名也卖得火热,有域名甚至售价高达34.5万元。
爆单消息纷至沓来,说不心动是假的,那《黑神话:悟空》的周边产品到底能不能卖呢?
《黑神话:悟空》的侵权风险
《黑神话:悟空》是由深圳市游科互动科技有限公司开发,作为一款面向全球发售的游戏,其在国内外都做足了知识产权保护。
▼企查查上显示其知识产权信息多达269条

商标侵权风险
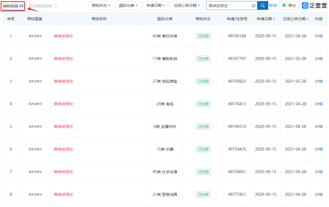
黑神话悟空中文商标45个类别游科公司都申请了个遍:

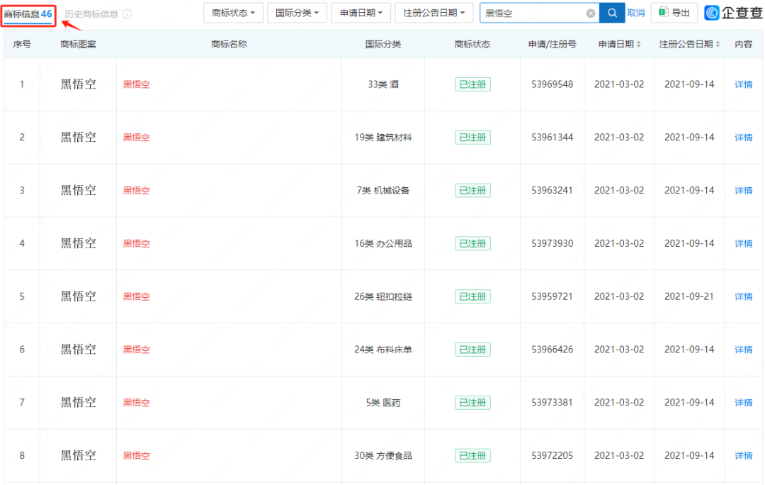
游戏简称黑悟空也是如此,其中25类商标此前申请被驳回,后又补交申请,因此查询到46条商标信息:


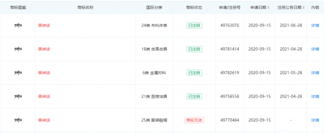
除黑神话悟空和黑悟空外,黑神话商标也注册了45个类目:

英文名称BLACK MYTH WUKONG申请了5个类别,分别9类(游戏软件)、28类(玩具)、34类(广告营销)、40类(在线游戏服务)、42类(计算机编程)。

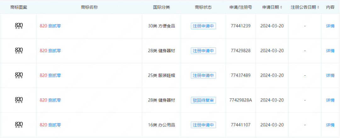
游戏上线日期820捌贰零也在多个类目申请:

另外,BLACK MYTH、BLACK MYTH WUKONG美国商标也已提交申请,目前正在审查中,涵盖了计算机键盘、广告服务、计算机编程、玩偶等多个类目。

除美国商标外,BLACK MYTH、BLACK MYTH WUKONG还在英国、法国、德国、澳大利亚、日本、韩国等国家注册了商标,注册类别多在9、28、35、41、42类。相较于美国商标的审查中状态,这些商标大多都已注册成功。


周边产品需要借助大热IP的名气及流量,一般都会在标题上带有名字,这一举动无疑会增加商标侵权风险,而《黑神话:悟空》的商标布局又十分全面,几乎堵死了蹭热度的路。
版权侵权风险
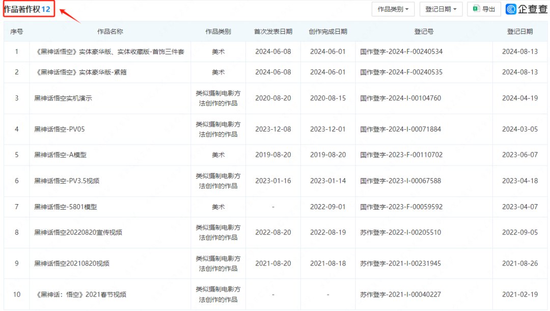
通过查询了解到,《黑神话:悟空》在国内的版权登记信息不少,其中包括作品著作权12项及软件著作权。对于电商卖家而言,需重点关注作品著作权,视频、模型、实体紧箍/首饰三件套、宣传材料等均已登记,若周边产品有涉及这些内容,均有版权侵权风险。


另外,在美国版权局官网也查询到游科公司名下有8条版权登记信息,从标题来看有5条和《黑神话:悟空》有关,包括官方预告片、游戏测试视频、拜年视频等。

综上所述,如果卖家在未经授权的情况下售卖《黑神话:悟空》的周边产品,将有可能面临商标及版权侵权风险。
爆款背后往往都藏有侵权风险,卖家切不可盲目跟卖,一定要做好知识产权侵权风险预警,否则很有可能侵权比爆单先来,得不偿失。
封面/图虫创意
(来源:积特知识产权)
以上内容属作者个人观点,不代表雨果跨境立场!如有侵权,请联系我们。