很多产品都有众多卖点,各具魅力,从功能到技术,原料到工艺,品质到性价比等等,琳琅满目。
企业恨不得将所有卖点呈现给消费者,将所有内容都全罗列到文案里。
因为手心手背都是肉,都是自己辛苦研发的心血,每个卖点似乎看起来都很重要,都舍不得放弃。
于是这也宣传,那也宣传,每个点宣传一下,最终效果却不如人意。因为宣传的点太多了,消费者反而记不住呀!
比如,我们以迷你手持吸尘器为例,随随便便都可以列举十几个卖点出来:
便携性:由于体积小巧,易于携带,非常适合旅行或车辆内使用。
轻量设计:轻便的设计让用户可以轻松使用,减少使用时的疲劳感。
无线操作:相比传统的有线吸尘器,提供了极大的使用灵活性和方便性。
强大的吸力:尽管体积小,但许多型号都拥有与传统吸尘器媲美的吸力,能够有效清理灰尘和碎屑。
多功能附件:配备多种附件,如缝隙工具和刷子,使其能够清理各种表面和难以触及的地方。
易于清洁:设计简单,容易拆卸和清洁,有的甚至配有可水洗的滤网。
长续航电池:大多数无线模型都配备了高效的电池,能够支持较长时间的连续使用。
环保:减少了对传统电源的依赖,更加环保。
低噪音设计:工作时产生的噪音较低,不会对周围环境造成干扰。
经济实惠:与大型吸尘器相比,迷你吸尘器通常更加经济实惠。
适用于多种表面:可以在硬地板、地毯、家具和汽车内部等多种表面上使用。
易于存储:因其体积小,易于在家中或车辆内找到存放位置。
快速清洁解决方案:为快速清洁提供了方便的解决方案,特别适合快速应对小型清洁任务。
时尚设计:许多迷你吸尘器采用现代和时尚的设计,不仅实用,也很有观赏性
还能再列举一些卖点出来,但是我不想提了。
我们思考一下:如果将这些卖点全部放进详情页或者营销宣传渠道,会怎样?
1.消费者会产生混乱和迷惑
每个点都提及,但是都讲得不够透彻,过多的、无关的信息会让消费者难以理解产品的主要价值,从而无法做出明智的购买决策。
2.降低转化率
如果营销内容没有清晰地传达产品的核心优势,消费者就难以产生购买欲望,转化率可能会下降。
3.品牌形象受损
过于分散的营销内容可能会让消费者感到品牌缺乏一致性和焦点。
4.资源浪费
过多的无关宣传内容会浪费企业的时间、精力和营销资源,降低整体的营销效率。
总结一下就是:卖点不够聚焦,讲得越多,消费者能够记住的越少。所以产品销售主张,一定要聚焦在最核心的那1-2个点上,简洁才有销售力。
我们都知道二八法则,要把80%的时间精力花费在的20%的最重要的事情上,挖掘核心卖点也是,营销宣传也是如此。
那么我们如何从茫茫卖点中,提取最核心的1-2个王牌卖点呢?
除了常规的竞品调研,用户调研,找差异化,我们还可以通过以下渠道去找到我们的核心卖点,最后一点很重要,一定要看。
1.谷歌搜索
去谷歌搜索这个品类,了解用户搜索时的常用关键词,对用户的消费需求有个大方向的把握。搜索是顾客表达需求的过程,顾客搜什么,就说明他在乎什么。

图片来源:谷歌
2.亚马逊搜索

图片来源:亚马逊
3.关键词分析工具

图片来源:飞鱼
市面有很多工具可以提取和分析用户画像,洞察消费者需求。这些工具的使用相信大家都很熟悉了。
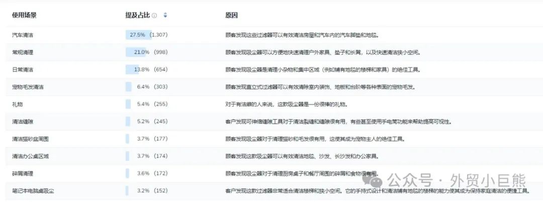
比如用Shulex工具分析你的竞品产品,通过提取用户评论了解竞品产品
使用场景是什么?
购买动机是什么?
对产品哪些方面好评如潮?
产品哪些方面备受吐槽?
以及竞品哪些方面未能满足用户需求?
从而了解相似客户群体真正的需求,甚至找到自己的差异化优势。





图片来源:Shulex
如果上面一个AI工具提取的数据假如你怕有失偏颇的话,你也可以直接下载用户评论,让另一个AI工具根据评论的数据来总结和洞察消费者的需求。多个工具结合一下,所有工具都提及到的点,那就要重点关注了。
罗列好所有的卖点后,我们可以做一个简单的表格,结合我们前面的用户调研的情况,就可以快速判断哪些卖点是核心卖点,哪些卖点可有可无。
图片来源:原创
便携性:消费者购买迷你吸尘器时,虽然对便携性有一定要求,但更加关注的是吸尘器的吸尘效果、使用寿命、适用于家里和汽车的多个表面、噪音水平等。因此便携性虽然是一个加分项,但不是消费者最关心的核心问题。
适用于多种表面:这个特点符合大市场的需求,因为用户希望一个清洁工具能够适用于家中的多种表面(抽屉,地脚线,窗户缝隙,厨房缝隙,汽车各个表面等),从而减少购买多个专门工具的需要。这种多功能性和适用性符合强需求,并且在高频使用的环境中非常实用,因此可以作为一个核心卖点。
外观时尚:尽管外观时尚能够吸引一部分对设计有特殊要求的用户,但相较于其他功能性的卖点,它在市场规模、用户需求和使用频率上的得分较低。因此,但不适合作为核心卖点,我们可以在宣传的时候简单提及甚至完全不提。
找到产的核心卖点后,我们就可以基于核心卖点去策划产品“独特的销售主张”,用于在产品详情页,站外营销中反复强调。
是的一个广告中必须包含一个向消费者提出的独特的销售主张,即在独特的卖点中找出产品独具的特点,然后以足够强大的声音说出来,而且要不断地强调。
独特的销售主张也叫USP主张,包含三个基本要点:
1. 利益承诺,强调产品有哪些具体的特殊功效和能给消费者提供哪些实际利益
2. 独特性(差异化),这是竞争对手无法提出或没有提出的,强调人无我有, 人有我优的唯一性
3. 强而有力,要做到集中,是消费者很关注的,集中在某一个点上,以达到打动、吸引别人购买产品的目的
USP理论重于对产品的聚焦。要么是在产品身上找差异;要么调整,制造产品差异;实在无法差异化,就展现产品的另外一个方面。
小马宋老师前几天说:产品同质化是个表面现象,但本质上不是。即使大家认为是同质化的东西,本质也没有同质化。因为还有加工、质检、服务、运营、营销过程中的各种环节的具体不同,导致了不同质化。
举个例子:在美国,人们普遍追求高品质的生活方式。这不仅包括物质层面,也涉及生活环境的舒适度。噪音被认为是一种污染,会影响人们的居住环境和生活质量。因此,产品的静音功能成为了提升用户体验的重要因素。
很多产品在美国市场宣传的时候都会提到静音,同样是表达静音,普通文案的表达方式:低噪音,只有25DB,安静的运行让你一夜好眠。但是用户心想:25DB是什么鬼?因此这样的表达并不能让消费者明白到底有多安静。
而广告界的传奇人物奥格威为劳斯莱斯创作广告时,却是这样表达静音的“在时速60公里时,这款新的劳斯莱斯汽车上最大的噪音来自电子钟”。
我本人看到这句文案的第一反应:静音这个词仿佛得到了具象化。
这句文案巧妙地创造了一种视觉和听觉的双重想象。读者可以在脑海中构建起一幅画面:一辆劳斯莱斯汽车在公路上平稳行驶,而车内异常安静,只有电子钟的嘀嗒声。
同时展示了劳斯莱斯对产品细节的极致追求。这也向消费者传达了一个信息:劳斯莱斯在生产汽车时会关注到每一个细节,劳斯莱斯提供的不仅仅是一辆车,而是一种无以伦比的驾驶体验。
通过以上分析,我们可以得出结论:通过表格分析出市场大,需求强,使用频率高的点,从而得出产品的王牌核心卖点,我们再基于核心卖点去策划产品“独特的销售主张”,用于在产品详情页重点说,说透,以及站外营销渠道中大声且反复强调。
而其他相对不重要的产品卖点,简单提及,一笔带过;甚至一些鸡肋的点都可以完全不用提,因为这一点都不影响你卖货赚钱。
个人简介
Hi 我是小熊,一个力求只分享干货的品牌推广小主管一枚。
关注我,海外社媒运营丨红人营销技巧丨EDM推广丨海外趋势等知识每月更新。(所有分享都是下班后业余时间总结和发布)
(来源:外贸小巨熊)
以上内容属作者个人观点,不代表雨果跨境立场!本文经原作者授权转载,转载需经原作者授权同意。
收录于以下专栏