已收藏,可在 我的资料库 中查看
关注作者
您可能还需要
独立站
DTC出海启航盛典
立即报名
加入社群
独立站近期活动
选品
织里童装产业带探厂
立即报名
活动咨询
近期产业带活动
查看更多>>

亚马逊广告推出了2个新功能,你必须get!

Yuki发现广告页面突然多了2个功能。就是增加了两个功能:“搜索词”和“历史”新功能,今天好好说说这新功能的利弊。

亚马逊广告推出了2个新功能,你必须get!

近段时间,后台广告页面一变再变,还好对于我们的使用影响不大,然而昨天Yuki发现广告页面突然多了2个功能。就是加了两个功能:“搜索词”和“历史”新功能,今天好好说说这新功能的利弊

亚马逊广告推出了2个新功能,你必须get!

“搜索词”新功能利弊

亚马逊广告推出了2个新功能,你必须get!

优势:

1、高效性。

手动投放,如果投的是广泛(宽泛)或词组(短语),往往会跑出一些长尾或相关的词,像之前我们都必须定期去后台下载报表查看、找出这些词分析,然后现在新功能---“搜索词”能快速和及时的看到买家搜索词,更加方便我们高效的做出决策。

2、可控性。

自动组可控性增加,每天都能知道跑出来是什么,更方便我们处理,无用无关的词可以及时否定,避免浪费更多广告费。

弊端:

1、数据不完全。

“搜索词”里面的可筛选的数据:曝光量、点击次数、点击率(CTR)、花费、每次点击费用(CPC)、订单销售额、广告投入产出比(ACOS)、广告支出回率(ROAS)、转化率。这次数据虽然是我们最关心的,也是常用的数据。但相比报表数据并不是很全面,如:SameSKU units Ordered within 1-week of click(点击了一个产品的广告,然后在一周内购买该种产品的总数量)、OtherSKU units Ordered within 1-week of click(点击了一个产品的广告,然后在一周内购买了其他产品的总数量)、SameSKU units Product Sales within 1-week of click(一周内购买了同种产品的总金额)、OtherSKU units Product Sales within 1-week of click(一周内购买了其他产品的总金额),多变体是这4个数据是不能忽视的。所以需要精细化分析还是需要下报表去看。

2、可查看数据时间有限。

亚马逊广告推出了2个新功能,你必须get!

相比报表,可查数据较短,最长只能看到上个月的数据。而后台报表可随意自定义、数据操作起来就更方便。

“历史”新功能利弊

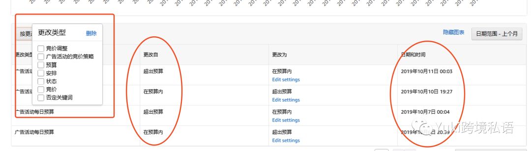
这个功能确实不算是个新鲜的功能,只是亚马逊将这个页面直接放在后台方便卖家查看,值得说的是另一个功能,就是“历史”功能。“历史”功能毋庸置疑也就是会记录下运营在广告模块做过的一些操作,以及发生过的变化。

优势:

有据可查:通过筛选自己想要查看的更改记录,目前可以查看的数据类型有竞价调整、竞价策略、预算、安排、状态、竞价、否定关键词。这个相对比较方便,即使多人操作也清楚每个人的操作路径。

亚马逊广告推出了2个新功能,你必须get!

这个功能不管是对团队,对运营个人都是极好的,团队管理方面运营操作更透明化,做没做,做了什么都一清二楚;对运营个人,查缺补漏,特别是哪个预算超出时间的监控,再也不用半夜起来看预算了。

弊端:

“历史”功能目前还处于测试版。测试就意味着不一定能留下来。一些数据还模棱两可都没有官方解释,像筛选里面有一项“竞价调整”后面又有一项“竞价”,Yuki猜测竞价调整就是我们人为操作竞价,“竞价就是整组建议价的浮动?可Yuki问到客服时,客服也是支支吾吾说不清楚。

黑五旺季之前,广告能上新这2个功能,虽不说是什么神器,但还是为我们提高不少效率,大家还是顺势接力看看为我们黑五助力。特别是“历史这功能不定哪天就消失了,还是尽快体验一下哈。(来源:Yuki跨境私语)

以上内容属作者个人观点,不代表雨果网立场!本文经原作者授权转载,转载需经原作者授权同意。

分享到:

--
评论
最新 热门 资讯 资料 专题 服务 果园 标签 百科 搜索

收藏

--

--

分享
Yuki跨境私语
分享不易,关注获取更多干货