已收藏,可在 我的资料库 中查看
关注作者
您可能还需要
独立站
DTC出海启航盛典
立即报名
加入社群
独立站近期活动
选品
上海API情趣展·雨果跨境探展
立即报名
活动咨询
近期产业带活动
查看更多>>

跨境电商第一股崛起的终极奥义是?

大平台做久了,会逐渐发现平台的局限,如各种规则的限制、越来越高的运营成本、同行的跟风卖货等等

跨境电商第一股崛起的终极奥义是?

做跨境电商,无非是两个路子:一是通过在Amazon、eBay、Wish等电商平台上开店卖货;另一个则是搭建自己的网站,把商品放在自己的网站上售卖。

刚入门的跨境小白们大多数会选择大平台开店卖货,不过大平台做久了,会逐渐发现平台的局限,比如平台各种规则的限制、越来越高的运营成本、同行的跟风卖货等等。

这就好比做久了附属国,不再愿意每年往朝廷进贡了,自己都没吃饱呢还要给主公献粮食?于是便有平台卖家决定自立门户,开始尝试往独立站转移,想获得更大的自主权和利润。

说起跨境电商独立站,就不得不提兰亭集势了。兰亭集势涵盖了包括服装、电子产品、玩具、饰品、家居用品、体育用品等14大类,共6万多种商品。公司年销售额超过2亿元人民币。

兰亭集势第二季度财报显示:

2017 年第二季度净营收同比增长 19.6% 至 7850 万美元,2017 年第二季度非美国通用会计准则下净利润为 30 万美元,2016 年同期为净亏损 100 万美元,预计 2017 年第三季度的净营收在 7500 万美元至 7800 万美元之间,同比增长 16.5% 至 21.2%。

经过几年的发展,公司采购遍及中国各地,在广东、上海、浙江、江苏、福建、山东和北京等省市均有大量供货商,并积累了良好的声誉。许多品牌,包括纽曼、爱国者、方正科技、亚都、神舟电脑等也加入到兰亭集势销售平台,成为公司的合作伙伴或者供货商。

兰亭集势以国内的婚纱、家装、3C 产品为主,这些产品毛利相对来说比较低,虽然业务量多,但盈利较少,这是国内做普通产品的外贸B2C的大多数情况。其盈利主要来源于制造成本的低廉与价格差。

这家2007年成立的B2C跨境电商是怎么做起来并能做到上市的呢?这里面会有什么不为人知的秘密呢? K宝今天将从它的营销层面入手,跟大家唠唠兰亭集势的数据营销。

借用某数据分析平台,我们通过搜索兰亭集势的域名来看它的营销数据吧。

跨境电商第一股崛起的终极奥义是?

兰亭集势的域名,在世界排名1496位,可以说是非常靠前了!域名月均访问量为5275.5万,可以看出这个域名还是比较火热的,那是不是因为他们在营销上下了大工夫呢?不着急,我们再往下看。

跨境电商第一股崛起的终极奥义是?

PS:K宝同步搜索了兰亭集势的官网并截了主页图(把中国的双十一购物狂欢节发展到国外,这个idea 666啊),与该数据平台获取的图一样一样的,这个同步性还不错嘛,点个赞。

做独立站我们最关注的无非是流量啦、询盘啦、转化啦……看看兰亭集势4-9月的访问流量趋势,在6月之前PC端的流量一直是略高于移动端,但整体走低;移动端在7-8月出现猛增,9月略有下滑,但依然处于较高状态。

同步我们可以看到9月的流量占比中,移动端占据了81%的主导地位,看来兰亭集势从7月开始对移动端加大了营销投入呢,毕竟现在几乎人人都是手机党,电商消费也逐渐转移到移动端,随时随地想买就买。

跨境电商第一股崛起的终极奥义是?

同步看到兰亭集势近三个月的访问量是2.1亿,平均访问停留时间是4分31秒,平均每次访问6.1页,跳出率44.94%这个就有点高了呀。

跨境电商第一股崛起的终极奥义是?

看到这里,你肯定就想问,这么高的流量主要来自什么渠道呢?喏,看到下图,兰亭集势在9月的数据流量主要来自直接访问(25.59%)、付费搜索(23.84%)和自然搜索(22.56%),从这里我们便可以知道,兰亭集势除了自身名气过硬外,在SEO和SEM上也是花了很大精力的。

跨境电商第一股崛起的终极奥义是?

这里还给出了这7种主要流量源4-9月占比的整体走向,K宝单选出了前面分析出的自然搜索和付费搜索,均处于走高趋势,而展示广告这块在7月就开始急转直下,看来兰家是铁了心要专注在搜索上做功课引流了呢。

跨境电商第一股崛起的终极奥义是?

跨境电商第一股崛起的终极奥义是?

那兰亭集势的流量具体又是从哪里来的呢?

从数据表现来看,正如我们上面所分析的,直接访问,付费和自然搜索依然是前三甲,只不过这里细分到了搜索引擎——主要利用的是出口营销必备的谷歌搜索,且环比上月流量都为增长趋势,同样与之前分析对照,付费搜索和自然搜索的增长比均较高。

紧随其后的则是邮件、推荐、社交(Facebook)等,均细化到对应的站点,如果K宝是兰家的竞争对手,我可能会考虑从他们所选的平台入手做营销投入哟。

跨境电商第一股崛起的终极奥义是?

网络流量来自全球各地,哪些国家才是主要来源?兰家主打的国家和地区又会是哪里呢?

为此本K宝查出兰家的流量覆盖了全球189个国家和地区,同时也知道了他们的流量主要来自美国(11.38%)、法国(9.84%)、巴西(8.69%)、意大利(5.18%)、英国(5.09%),这五个国家无疑是兰家重点的卖货方向;从访问时长、页数和跳出率来看,域名的表现还是在法国和巴西更胜一筹。

跨境电商第一股崛起的终极奥义是?

既然搜索做得多,那关键字肯定是重头戏,我们再来看看兰家的自然关键字和付费关键字的情况。

跨境电商第一股崛起的终极奥义是?

K宝以美国为例了解到,兰家在美国做的流量贡献比较大的关键词有两类,一类是跟自己域名前缀lightinthebox一样的词组,另一类则是他们的热销爆款——婚纱、演出服之流(确实是兰家主打),做出的排名效果大多都是居于榜首,SEO难度系数也不低,那么我们之前关于兰家流量的营销投入推断是没错的。

PS:这里的CPC出价和花费应该是系统根据他的数据做出的预估。

跨境电商第一股崛起的终极奥义是?

还是以美国为例,根据流量贡献比做了降序观察,毕竟做数据营销流量才是王道嘛。这一部分的关键字主要还是以他们的热销品词组为主,裙子、礼服等看来在美国很是畅销,大概是因为美国人热衷于舞会party?

这里的关键字还附上了在谷歌上对应的广告文案和广告位(顶部和底部)。同样的,兰家做的付费关键字排名也是名列前茅。

将鸡蛋放进多个篮子的道理大家都懂吧,兰家搜索做得多,其他营销推广手段也没有落下,推荐来源也是紧跟其后的重要途径。

跨境电商第一股崛起的终极奥义是?

社交广告推广线下十分火热,且效果可观,特别是当下Facebook的广告营销开始进军内陆,它必将是以后独立站首选的营销平台之一。果不其然,兰家来自社交平台的流量有61.43%都引流自Facebook,且呈上升趋势。

跨境电商第一股崛起的终极奥义是?

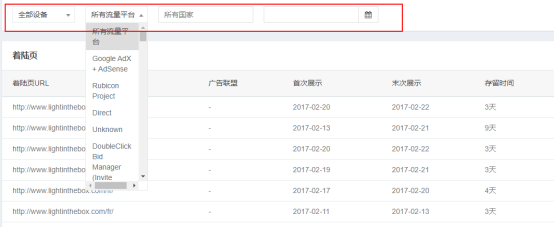
除此之外,兰家还在其他什么媒体做过营销投放呢?我们找到兰家设置的着陆页和媒体,并根据设备(手机、桌面、原生平台)和流量平台筛选出想要了解的着陆页和媒体,看完这些兰家的媒体营销策略大概心里能有个数了吧。

跨境电商第一股崛起的终极奥义是?

跨境电商第一股崛起的终极奥义是?

广告创意,对于营销来说可能是比较费脑也是极其重要的一部分,K宝相信兰家在创意上也应该是出色的。我们来看看兰家在Facebook、Google等平台投放过的广告素材。

这里K宝通过点赞数降序,筛选出了兰家在Facebook上的广告素材,可以看到这些素材的展现形式(轮播图、视频等)文案、展示时间、国家、点赞数、评论数等。兰家的创意套路全被收入囊中,不费吹灰之力啊。

跨境电商第一股崛起的终极奥义是?

总结  

兰亭集势作为跨境电商独立站佼佼者,除了自身在选品、物流等方面的优势之外,线上营销的贡献也是功不可没的。兰家在数据营销上的小秘密可以归结为以下几点:

(1) 电商移动端趋势明显,营销侧重于移动端;

(2) 主打Google搜索,SEO和SEM功夫深厚,社交和推荐等其他渠道也没有落下,投入力度适中;

(3) 社交平台年轻人居多,主推服装鞋类,也算是精准营销的打法了;

(4) 不管是关键字还是其他素材,主打自身的品牌和热销款;

(5) 五大市场:美国、法国、巴西、意大利、英国;

(6) 不放过任何一个可以促销的机会,比如把国内双十一促销带到国外。

OK,关于兰亭集势的营销秘诀你都掌握了吗?只能帮你们到这儿啦!哦对了,千万不要让兰家知道我,我怕被追杀,K宝叩谢!

想要了解更多关于数据的干货吗?WX公号搜索 k_data 关注K宝获取更多干货吧!

相关标签:

分享到:

--
评论
最新 热门 资讯 资料 专题 百科 搜索

收藏

--

--

分享