已收藏,可在 我的资料库 中查看
关注作者
您可能还需要
独立站
DTC出海启航盛典
立即报名
加入社群
独立站近期活动
选品
织里童装产业带探厂
立即报名
活动咨询
近期产业带活动
查看更多>>

只知道黑五和网一,你听说过“绿色星期一”吗?

继黑五和网一后,绿色星期一也成为了盛大的购物日。

只知道黑五和网一,你听说过“绿色星期一”吗?

绿色星期一对电商企业来说是一个蓬勃发展的零售销售机会。该购物日可追溯到2007年,eBay开始了整个构想。当时,该公司意识到,平均来说,12月的第2个星期一是12月热门的购物日之一。

绿色星期一有时也被称为“第二个网络星期一”或“躁狂星期一”,这个名字的由来可能是为了让消费者从各种各样的促销活动中省钱,使网上零售商赚更多的钱,或者也寓意着绿色环保(网上购物比开车去商店更环保)。但从来没有人真正解释过为什么它被称为绿色星期一。

无论这个名字的起源是什么,这一天你都不能忽视。

绿色星期一何时开始?

绿色星期一是12月的第二个星期一。今年的时间是12月9日。对于网购者来说,这是一个好阶段,因为这可以确保他们有足够的时间在假期前完成网购。

注意事项

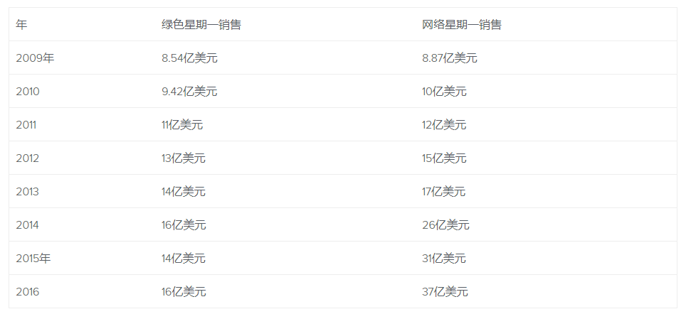
对于在线零售商来说,投资于绿色星期一是值得的。看看过去几年的销售情况就知道了,以下是绿色星期一和网络星期一的销售对比:

只知道黑五和网一,你听说过“绿色星期一”吗?

如何优化销售?

11月和12月是每年盛大的销售月,这并不令人感到意外,对零售商来说一直都是这样。那么,网上购物是否正迅速成为假日购物者的首选渠道?

去年,黑色星期五的网购人数比实体店多640万。此外,11月和12月的电商总销售额超过12.3亿美元。

今年,当你为黑色星期五和网络星期一做准备时,一定要为绿色星期一制定一个策略。这里有一些建议:

●生产或使用环保产品:你可以通过在网站上制作和设置绿色主题,确保你的客户了解绿色星期一。此外,一定要突出你产品的环保属性,以及你提供的任何销售和促销活动。

●激发兴奋感:当你创造出一种兴奋和紧迫感时,客户就会做出反应。你可以在网站上添加一个倒数计时器,这可以让顾客知道他们需要在多长时间内完成购物。

●在社交媒体上推广:在绿色星期一到来前一周,你可以发布一系列关于绿色星期一的销售、交易和折扣的帖子。在你的帖子中包含可持续的信息也是很重要的,即使这只是一个简单的事实,网上购物比在商店间购物更环保。创建与绿色星期一相关的标签是跟踪客户正在分享的内容和特价商品的好方法。

●言出必行:消费者越来越重视回馈社会。你可以通过促销活动,承诺为每笔在绿色星期一进行的购买都向环保慈善机构捐款。

●创造回头客:吸引新客户无疑是重要的。你可以通过提供折扣代码吸引过往买家回头进行复购,以便他们可以在将来享受这些优惠。

总结

不要忽视绿色星期一带来的巨大销售机会。只要稍加思考和计划,你就能让绿色星期一像网络星期一那样给你的生意带来丰厚的利润。你可以利用上面的想法来制造一个关于这一天的话题,突出你的品牌的环保产品,并赢得回头客。

(来源:跨境喵的碎碎念)

以上内容属作者个人观点,不代表雨果网立场!本文经原作者独家授权供稿,转载需经雨果网授权同意。

分享到:

--
评论
最新 热门 资讯 资料 专题

收藏

--

--

分享
跨境喵的碎碎念
分享不易,关注获取更多干货